Forged Steel Globe Valves Flanged End – High-Quality Industrial Valves | Hubballi, India

HARA Forged Steel Globe Valves are designed for precise flow control and throttling applications in high-pressure and high-temperature services. These valves are manufactured using high-quality forged steel and are suitable for a wide range of industrial applications.

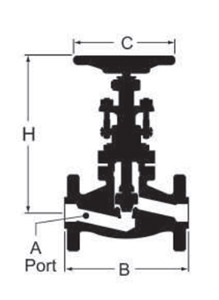
Class 150 – Standard Port – Bolted Bonnet – Flanged Ends

Dimension Size (mm.)
15 20 25 40 50
Standard Port 9.0 12.0 17.0 28 36
Face to Face (A) 108 117 127 165 203
Center to Top (H) Closed 159 169 176 252 254
Hand Wheel (C) 90 90 100 150 150
Weight Kgs. 3.2 4.0 6.0 12 18.5
Globe Valves

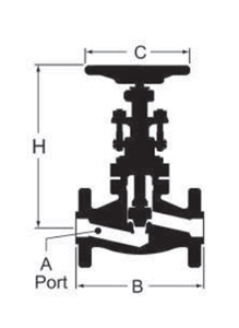
Class 300* – Standard Port – Bolted Bonnet – Flanged Ends

Dimension Size (mm.)
15 20 25 40 50
Port Diameter 9.0 12.0 17.0 28 36
Face to Face (B) 152 178 203 229 267
Center to Top (H) Closed 159 169 176 252 254
Hand Wheel (C) 90 90 100 150 150
Weight Kgs. 4.0 5.0 7.5 15.5 21.0
Globe Valves

Class 600* – Standard Port – Bolted Bonnet – Flanged Ends

Dimension Size (mm.)
15 20 25 40 50
Port Diameter 9.0 12.0 17.0 28 36
Face to Face (B) 165 190 216 241 292
Center to Top (H) Closed 160 170 176 252 254
Hand Wheel (C) 90 90 100 150 150
Weight Kgs. 5.3 6.5 8.2 17.5 23.8
Globe Valves

Class 1500* – Standard Port – Bolted Bonnet – Flanged Ends

Dimension Size (mm.)
15 20 25 40
Port Diameter 9.0 12.0 17.0 25
Face to Face (B) 216 229 254 305
Center to Top (H) Closed 169 176 252 254
Hand Wheel (C) 100 100 150 150
Weight Kgs. 4.8 6.2 8.0 16.0
Globe Valves
Let’s Build Reliable Industrial Solutions

From engineering and manufacturing to quality control and delivery, we provide precision-driven valve solutions designed for long-term performance in demanding applications.